Auswahl und Installation eines Dampfgenerators für das Hammam
Die Besonderheit des türkischen Bades (d.h. des geliebten Hammam) besteht darin, dass es im Gegensatz zum finnischen oder russischen Dampfbad auf eine besondere Art und Weise gedämpft wird, was es für seine hohe Luftfeuchtigkeit und den hochwertigen, leichten Dampf berühmt macht, der den Körper belebt und eine äußerst angenehme, entspannende Atmosphäre schafft. Die Wirkung des türkischen Hamams auf unsere übliche Weise zu erreichen, ist ziemlich schwierig. Um den gewünschten weichen Dampf zu erhalten, begannen die Handwerker daher, Dampfgeneratoren zu verwenden, die mit dem Strom des Gasnetzes betrieben werden.
Beschreibung
Jedes Jahr steigen die Strompreise, und nicht jeder kann sich den Genuss eines türkischen Bades leisten. Diejenigen, die türkische Bäder lieben, wählen am häufigsten die preisgünstige Variante für ihr Hammam - einen Gasdampfgenerator. Das Gerät liefert hochwertigen Dampf bei maximaler Kosten- und Energieeinsparung. Manchmal werden prototypische Dampfbäder mit Dampfgeneratoren direkt in der Wohnung installiert.
Die Konstruktion dieses Generators ist so vielseitig und einfach, dass er sowohl für eine echte Sauna, ein separates, spezialisiertes Spa oder für die Installation auf dem Privatgelände eines mehrstöckigen Hauses verwendet werden kann.
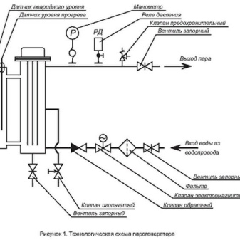
Das gasbetriebene Gerät ist völlig identisch aufgebaut wie die strombetriebenen Modelle. Sie umfasst mehrere Teile:
- der Kessel, der das System mit Flüssigkeit versorgt;
- die Elemente, die das Wasser bis zu einem bestimmten Grad erhitzen;
- die Kammern, die für die Verdunstung des Wassers zuständig sind;
- ein Gerät zur Steuerung des Systems;
- Metallgehäuse.
Das Funktionsprinzip des Dampferzeugers ist elementar. Das einströmende Wasser wird auf 100 - 110° C erhitzt. In der Verdampfungskammer des Geräts wird die Flüssigkeit in einen gasförmigen Zustand umgewandelt und füllt dann mit Hilfe der notwendigen Leitungen, die den Dampf vom Gerät in den Raum leiten, den gesamten Raum aus.
Spezielle Absperrventile öffnen sich, um den Wassermangel im System auszugleichen. Mit der Steuereinheit lassen sich die Temperatur, die Dampfmenge und die Feuchtigkeit des Dampfes regeln und der Wasserstand im Kessel überwachen.
Dank dieses einfachen Funktionsprinzips ist das Gerät äußerst benutzerfreundlich und erfordert wenig Überwachung.
Übersicht der Typen
Je nach Art des Heizelements gibt es verschiedene Typen.
- Induktionsdampfpistolen. Neben den Einflüssen von Temperatur und Druck wird die Flüssigkeit auch durch Magnetfelder und Blindenergie beeinflusst, was die Moleküle in stärkere Schwingungen versetzt und so die Effizienz erhöht. Daher verbraucht ein Induktionsdampfgenerator 2 bis 3 Mal weniger Strom als vergleichbare Geräte.
- Elektrisch. Das System dieser Dampferzeuger ist mit elektrischen Rohrheizkörpern ausgestattet.
- Elektrode. Dampf wird erzeugt, indem Strom zwischen den Elektroden durch eine Flüssigkeit geleitet wird. Die Elektroden selbst neigen jedoch dazu, sich mit der Zeit aufzulösen und müssen ersetzt werden. Die Häufigkeit des Austauschs hängt von der Wasserqualität und der Betriebsintensität des Geräts ab.
- Typ Diesel (Kraftstoff). Bei der Verbrennung von Brennstoff wird Wasser in Dampf umgewandelt.
- Gasbetrieben. Der Generator funktioniert durch Anschluss an eine zentrale Gasversorgung.
Es gibt zwei Arten von Geräten: autonome und automatische. Die erste Option ist geeignet, wenn der Hammam nicht an die Wasserversorgung angeschlossen ist. Das Wasser muss manuell eingefüllt werden. Die Leistung dieser Generatoren ist gering, so dass sie meist in kleinen Räumen eingesetzt werden.
Automatisch arbeitende Dampferzeuger funktionieren nur mit einem Anschluss an das Wassersystem. Es werden auch spezielle Filter installiert, die das Wasser sauberer machen, indem sie es von den meisten schädlichen Elementen befreien.
Beliebte Marken
Der moderne Markt für Dampferzeuger erneuert sich ständig: Zu den bereits renommierten Herstellern gesellen sich neue, fortschrittliche Hersteller, die dem Verbraucher sowohl in Qualität als auch im Preis entgegenkommen. Es gibt mehrere Unternehmen, die schon seit langem Erfolg bei den Kunden haben.
- Helo. Das finnische Unternehmen, das alle Arten von Geräten für Saunen und Bäder herstellt, kann auf eine mehr als 100-jährige Geschichte zurückblicken (gegründet 1919). Helo-Dampfgeneratoren sind in einer großen Auswahl von Modellen vertreten und erhalten nur positive Rückmeldungen von Käufern, die sie in kleinen Hammams für private Besuche installieren.
- Tylo. Schwedischer Hersteller von Saunaprodukten, insbesondere von hochwertigen Dampferzeugern für Bäder, Saunen und Hammams für den privaten und gewerblichen Gebrauch. Die Dampferzeuger haben eine hohe Leistung von bis zu 10 kW. Sie sind auf dem Markt sehr gefragt und werden von vielen Kunden in diesem Segment sehr empfohlen.
- Hygromatik. Es handelt sich um ein Unternehmen, das seit vielen Jahren Haushaltsgeräte für Dampfbäder und Saunas herstellt. Das Unternehmen stellt sowohl Kocher als auch kleine Gasgeneratoren her. Das Produkt ist bei Besitzern von kleinen Spas und Hammams beliebt. Die Produkte sind zuverlässig, einfach zu bedienen und dienen ihren Besitzern über einen langen Zeitraum.
- EOS. Ein deutsches Unternehmen, das sich auf die Herstellung von Produkten für Saunen und Dampfbäder mit hoher Kapazität für den Massengebrauch spezialisiert hat. Die Dampfgeneratoren des Unternehmens eignen sich am besten für Besitzer großer Badeanstalten, in denen ein ständiger Kundenstrom herrscht.
Alle Geräte werden ausschließlich aus hochwertigen Materialien hergestellt und sind kostspielig. Aber die Qualität und die langfristige Nutzung sind es wert.
- Teplodar InSteam Energy GLP. Ein russischer Hersteller, der Generatoren herstellt, die am besten in Kombination mit einem Saunaofen verwendet werden, als Ergänzung zu diesem. Der Generator kann auch als unabhängiges Gerät zum Heizen kleiner Saunakabinen verwendet werden, deren Volumen 4-6 kW nicht überschreitet. Die meisten Modelle werden mit Strom betrieben, aber der erzeugte Dampf ist von hoher Qualität und hat gute, nützliche Eigenschaften.
- Sawo. Dampfgeneratoren, Kocher und das gesamte erforderliche Saunazubehör werden von einem Unternehmen geliefert, das zu den 10 führenden finnischen Herstellern gehört. Sawo-Produkte heben sich von anderen Unternehmen durch die Kombination von ergonomischen Daten und technischen Möglichkeiten ab. Die Dampfgeneratoren sind sowohl für den privaten Gebrauch zu Hause als auch für den Massengebrauch in großem Maßstab geeignet. Alle Produkte werden zu sehr wettbewerbsfähigen Preisen angeboten, und die Niederlassungen des Unternehmens befinden sich überall in den GUS-Ländern, was die Auswahl und den Kauf jeglicher Badeausrüstung erleichtert.
- Effegibi. Die italienische Marke ist für Liebhaber eines spektakulären Aussehens und einer beispiellosen Zuverlässigkeit und Praktikabilität der Geräte bestimmt. Stilvolles Design und maximale Benutzerfreundlichkeit der Geräte heben das Unternehmen in die Spitzengruppe der auf Badprodukte spezialisierten Marken.
Auswahl Merkmale
Meister im Bau von türkischen Hammams raten, eine Reihe von Details zu berücksichtigen, um den richtigen Dampferzeuger für das Bad zu wählen:
- Die Größe und das Volumen der Saunakabine;
- die Intensität der Nutzung;
- den Temperaturbereich des Raumes;
- die Harmonie und Kohärenz des Designs des Dampfgenerators mit dem Gesamtstil des Dampfbads.
Die Größe der Saunakabine ist eines der wichtigsten Kriterien bei der Auswahl der geeigneten Ausrüstung. Wenn zum Beispiel die Dampfkabine zu groß und der Generator zu schwach ist, wird man keinen guten Dampf bekommen. Umgekehrt kann ein zu kleiner Raum zu dampfig werden, wenn der Dampferzeuger zu stark ist. Die Anpassung und Berechnung der Größe des Raums an die Stärke des Geräts ist eine sehr wichtige Aufgabe.
In der Regel empfehlen die Fachleute das folgende Schema: 1-1,5 kW-Gerät pro 1 m³ Raum.
Nuancen bei der Installation
Um ein Dampferzeugungsgerät korrekt in der Saunakabine zu installieren, müssen die folgenden Punkte beachtet werden:
- die Kapazität des Geräts;
- Verfügbarkeit von Kraftstoff;
- die Abmessungen des Geräts;
- ob das Gerät über das Bedienfeld aus der Ferne bedient werden kann;
- Art der Energieversorgung;
- die Zulässigkeit der Programmierung der Zyklen des Dampferzeugers.
Die Verfügbarkeit von Brennstoff in der Sauna muss berücksichtigt werden. Wenn es zum Beispiel nicht möglich ist, den Generator an die zentrale Gasversorgung anzuschließen, ist es besser, ein Gerät zu kaufen, das mit Strom betrieben wird. Natürlich gibt es auch die Möglichkeit, spezielle Flaschen mit Flüssiggas zu verwenden, aber diese Methode ist sehr teuer und unlogisch, da das Befüllen und der Transport solcher Flaschen recht schwierig ist. Die günstigste und wirtschaftlichste Option ist der Kauf eines Gasdampfgenerators. Das Gerät ist einfach zu installieren und leicht zu warten.
Beim Kauf eines Geräts sollten Sie auch darauf achten, dass das Schutzsystem zuverlässig ist. Dieser Generatortyp muss vor Feuchtigkeit geschützt und mit einem Notabschaltsystem ausgestattet sein. Wenn möglich, ist es am besten, Einheiten zu wählen, die Zugang zu einem automatischen Brandmeldeanschluss haben.
Die Auswahl des richtigen Dampfgenerators für Ihr Hammam ist keine leichte Aufgabe; sie erfordert Aufmerksamkeit, korrekte Berechnungen, den Vergleich verschiedener Modelle und eine bewusste Nutzung. Der Einbau eines solchen Geräts ist in der Regel einfach, aber es ist besser, sich an Fachleute zu wenden, die sich auf den Einbau von Geräten in verschiedenen Badeeinrichtungen, Saunen, Spas und Hammams spezialisiert haben.
Im Folgenden finden Sie die Regeln, die Sie bei der Auswahl eines Dampfgenerators beachten sollten.
